服务热线
手机
一、网线介绍
双绞线是由两根相互缠绕的绝缘铜导线构成的。这种特定的缠绕方式,即两根绝缘铜导线以一定的密度相互绞合,显著降低了信号传输过程中的干扰程度。每根导线在传输信号时产生的电波,都会被另一根导线产生的电波所抵消,从而进一步减少干扰。当一对或多对这样的双绞线被放置在一个绝缘套管中时,就形成了双绞线电缆。在局域网中,常用的是由4对双绞线组成的电缆。

1.1、UTP与STP
1.1.1、UTP(非屏蔽双绞线):

非屏蔽双绞线抗干扰能力较差、误码率高,但由于价格便宜、安装方便、故广泛应用于电话系统和计算机网络中,成为最普遍的传输媒体。
1.1.2、STP(屏蔽双绞线):

屏蔽双绞线的外面有一个金属构成的屏蔽层,其内部结构与非屏蔽双绞线相同。屏蔽双绞线的误码率明显低于非屏蔽双绞线,还可以比非屏蔽双绞线支持更远的距离,更高的传输率和连接更多的网点,但价格相对也就贵很多。
1.1.3、双绞线标准:
技术指标参数
|
名称 |
标准 |
使用场合 |
|
1/2/3/4类双绞线 |
CAT-1/2/3/4 |
目前已经淘汰 |
|
5类双绞线 |
CAT-5 |
可用于百兆以太网 |
|
超5类/6类双绞线 |
CAT-5e/6 |
可用于千兆以太网 |
|
超6类双绞线 |
CAT-6e |
可用于10倍千兆以太网 |
|
7类双绞线 |
CAT-7 |
可用于更高标准 |
1.2、CAT3、CAT5、CAT6什么意思
1.2.1、三类线(CAT3)应用范围:
指在ANSI和EIA/TIA568标准中指定的电缆,该电缆的传输频率16MHz,最高传输速率为10Mbps(10Mbit/s),主要应用于语音、10Mbit/s(10BASE-T)和4Mbit/s,最大网段长度为100m,采用RJ形式的连接器,目前已淡出市场。
1.2.2、五类线(CAT5)应用范围:
该类电缆增加了绕线密度,外套一种高质量的绝缘材料,线缆最高频率带宽为100MHz,最高传输速率为100Mbps(100Mbit/s),用于语音传输和最高传输速率为100Mbps的数据传输,主要应用于100BASE-T和1000BASE-T网络,最大网段长度为100m,采用RJ形式的连接器,这是最常用的以太网电缆。
超五类线(CAT5e):具有衰减小、串扰小,具有更高的衰减与串扰比值(ACR)和信噪比(SNR)、更小时延误差,性能得到很大提高,超五类线主要应用于1000Mbps以太网。
1.2.3、六类线(CAT6)应用范围:
该类电缆的传输频率1MHz-250MHz之间,六类布线系统在200MHz时综合衰减串扰比(PS_ACR)应该有较大余量,它提供2倍于超五类线的带宽。六类布线的传输性能远远高于超五类线标准,最适用于传输速率高于1Gbps的应用。改善了串扰与回波损耗方面的性能,对于新一代全双工的高速网络应用而言,优良的回波损耗性能是极其重要的。
六类线标准中取消了基本链路模型,布线标准采用星形的拓扑结构,要求的布线距离为:永久链路的长度不能超标90m,信道长度不能超过100m。超六类线(CAT6e):此类线传输带宽介于六类线与七类线之间,传输频率为500MHz,传输速率10Gbps,标准外径为6mm。
二、以太网电路构成
以太网电路主要包含:CPU、MAC控制器、PHY芯片、网络变压器和RJ45接头组成,有的系统会有DMA控制。一般的系统中CPU和MAC以及DMA控制器都是集成在一块芯片上的,为了节省空间简化设计,很多时候网口的变压器和RJ45的接头集成在一起。

终端系统以太网电路设计
2.1、RJ45端口
RJ是Registered Jack的缩写,意思是“注册的插座”。在FCC(通信委员会标准和规章)中RJ是描述公用电信网络的接口,计算机网络的RJ45是标准8位模块化接口的俗称。连接器由插头(8P8C接头,水晶头)和插座组成。如下图所示:

关于接头引脚定义,目前存在两种标准:T568A和T568B(最通用)。这两者的主要区别是橙色和绿色双绞线进行了交换,如下图所示:
设计这两种标准只是在线缆颜色上有所区别,目的是在线缆侧实现交叉互连。网络直通线常用于异种网络之间的互连(比如计算机交换机之间),交叉线常用于同种网络之间的互联(比如计算机与之间)。不过现在PHY芯片大部分具有自动交叉(auto MDIX)的能力,只需要直连即可。不同网络速率及网络介质下引脚作用也不相同,如下图示意:

2.2、网络变压器的组成与作用
2.2.1、什么是网络变压器:
网络变压器也称网络隔离变压器,或称数据泵,主要应用于路由器、网卡、集线器、网络交换机。其主要作用如下:信号耦合、阻抗匹配、电气隔离、共模干扰抑制
电气隔离:
网线长距离传输会有很大直流分量损失;如果外部网线与PHY芯片直接相连的话,电磁感应(打雷)和静电,很容易造成芯片的损坏。其次设备接地点不同、电网环境不同会导致发射端与接收端0V电平不一致,可能会导致很大的电流从电位高的设备流向电位低的设备。网络变压器将PHY送出的差分信号用差模线圈耦合滤波以增强信号,并通过电磁场转换耦合到接收端。网络变压器本身耐压设计就2KV~3KV,也起到防雷作用。
共模抑制:
网络隔离变压器具有电气隔离,也可以隔离低频差模干扰、共模干扰,但由于变压器初次级之间寄生电容的存在,较高频率的噪声同样被耦合到接收端,造成电信端传导骚扰测试、电信端辐射测试不达标。
2.2.2、网络变压器的主要参数:
网络变压器的主要参数:开路电感、漏电感、直流电阻、变压器变压比、杂散电容、插入损耗、反射损耗、串扰、共模抑制比、隔离电平等。
开路电感(Open Circuit Inductance):
当变压器二次侧开路,测量到一次侧的电感。
漏感(Leakage Inductance):
当变压器二次侧短路,测量到一次侧的电感。
杂散电容(Inter-winding Capacitance):
当变压器一次侧与二次侧之间的分布电容。
变压器变压比(Turns Ratio):
当变压器一次侧与二次侧的圈数比。
插入损耗(insertion Loss):
是指经过网络变压器的信号能量衰减。

反射损耗(Return Loss):
反射损耗是用来描述实测阻抗与标准阻抗不匹配的程度,即包括幅值不同又包括相位的不同,反射损耗的表达式如下:

串扰(Crosstalk)
是指一个信号通道的无用信号耦合到另一个信号通道的大小。
具体参数如下图所示:

2.2.3、网络变压器电路组成:
中心抽头、网络变压器、共模电感。(可选)、自耦变压器(可选)

网络变压器电路组成
中心抽头作用:
网络变压器中心抽头主要有两个作用:通过提供差分信号线上共模噪声的低阻抗回流路径,降低线缆上共模电流和共模电压。对于某些收发器提供一个直流偏置电压或功率源。
网络变压器中心抽头电路原理
所以对于不同的问题频率点,我们可以选择不同的电容值提供低阻抗返回路径,对于不同芯片、不同PCB板,容值的最佳选择需实际尝试。
共模电感的应用:
网络变压器集成的共模电感可以有效抑制共模电流引起的EMI问题,但需要特别注意共模电感的放置,如果放在芯片侧则不适用于电流驱动型的芯片,如下图所示,当有用的信号电流流过共模电感一个线圈,或在两个线圈中电流方向相同的时候,共模电感磁芯中的磁力线不能互相抵消,此电感会对有用信号产生,从而影响有用信号。
为解决电流驱动型芯片共模电感放置芯片侧影响有用信号传输的问题,三线共模电感应运而生。流过中心抽头线圈中的电流与有用信号线圈中的电流磁场互相抵消,减小线圈阻抗,保证有用信号的质量,3线共模电感如下图所示:

对于电流驱动型PHY芯片,共模电感要放于线缆侧,如下图应用。自耦变压器用于混合模式的端接。

2.3、Bob Smith电路
Bob Smith电路主要有两个作用:提供网口任意两对差分信号间150ohm的阻抗匹配;可以为共模信号提供低阻抗回流路径。
基于第一种功能作用,可以清楚地看到共模电感放在电缆侧时是不能满足Bob Smith电路的阻抗匹配要求,如下图所示:

此时Bob Smith匹配电阻不是150ohm,而变成Z=75ohm2+ZCMC2,不能满足阻抗匹配要求,所以共模电感不能放在电缆侧,如果要放在电缆侧,则需要额外增加自耦变压器,如下图所示:

基于第二种功能作用,要想在较宽频率范围内获得低阻抗,需要控制连线阻抗,保证Bob Smith电路低阻抗连接。针对不同的问题频率点还可以适当Bob Smith电路电容的容值。其作用与中心抽头电容类似,但因为其串联75ohm电阻,并且其是高压电容,容值能选择的范围有限,但也可以成为调整解决网络EMC问题的一个方面。
2.4、MAC&PHY芯片电路
2.4.1、MAC:
MAC即Media Access Control,即媒体访问控制子层协议。该协议位于OSI七层协议中数据链路层的下半部分,主要负责控制与连接物理层的物理介质。在发送数据的时候,MAC协议可以事先判断是否可以发送数据,如果可以发送将给数据加上一些控制信息,最终将数据以及控制信息以规定的格式发送到物理层;在接收数据的时候,MAC协议首先判断输入的信息并是否发生传输错误,如果没有错误,则去掉控制信息发送至LLC层。该层协议是以太网MAC由IEEE-802.3以太网标准定义。
2.4.2、PHY芯片:
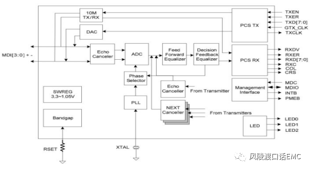
PHY是物理接口收发器,它实现物理层,IEEE-802.3标准定义了以太网PHY。包括MII/GMII(介质独立接口)子层,PCS(物理编码子层),PMA(物理介质附加)子层,PMD(物理介质相关)子层,MDI子层。它符合IEEE-802.3k中用于10BaseT(第14条)和100BaseTX(第24条和第25条)的规范。PHY在发送数据的时候,收到MAC过来的数据(对PHY来说,没有帧的概念,对它来说,都是数据而不管什么地址,数据还是CRC。对于100BaseTX因为使用4B/5B编码,每4bit就增加1bit的检错码),然后把并行数据转化为串行流数据,再按照物理层的编码规则把数据编码,再变为模拟信号把数据送出去,收数据时的流程反之。

RGMII PHY芯片内部原理框图
2.4.3、MII、RMII、GMII、RGMII:
MII接口简介:
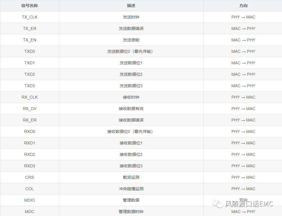
MII即“媒体独立接口”,也叫“独立于介质的接口”。它是IEEE-802.3定义的以太网行业标准。它包括一个数据接口,以及一个MAC和PHY之间的管理接口。RMII全称为“简化的媒体独立接口”,是IEEE-802.3u标准中除MII接口之外的另一种实现。

MAC 通过MIIM 接口读取PHY 状态寄存器以得知目前PHY 的状态。连接速度、双工的能力等。也可以通过 MIIM设置PHY的寄存器达到控制的目的。流控的打开关闭、自协商模式还是强制模式等。MII以4位半字节方式传送数据双向传输,时钟速率25MHz。其工作速率可达100Mb/s。当时钟频率为2.5MHz时,对应速率为10Mb/s。MII接口虽然很灵活但由于信号线太多限制多接口网口的发展,后续又衍生出RMII,SMII等。
RMII接口简介:
RMII(Reduced Media Independant Interface),精简MII接口,节省了一半的数据线。RMII收发使用2位数据进行传输,收发时钟均采用50MHz时钟源。信号定义如下:

GMII接口简介:
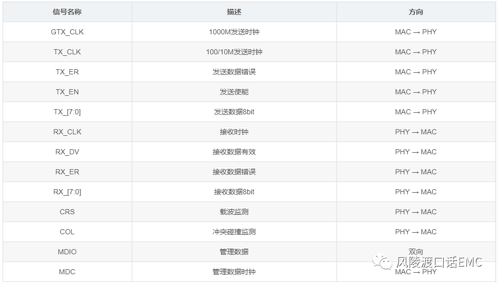
GMII(Gigabit Media Independant Interface)千兆MII接口,GMII采用8位接口数据,工作时钟125MHz,传输速率可达1000Mbps。同时兼容MII所规定的10/100 Mbps工作方式。GMII接口数据结构符合IEEE以太网标准,该接口定义见IEEE 802.3-2000。信号定义如下:

SMII接口简介:
SMII(Serial Media Independant Interface),串行MII接口,它包括TXD,RXD,SYNC三个信号线,共用一个时钟信号,时钟信号是125MHz,信号线与此时钟同步,信号定义如下:

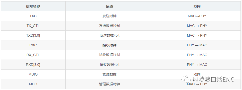
RGMII接口简介:
RGMII(Reduced Gigabit Media Independant Interface),精简GMII接口。相对于GMII相比,RGMII具有如下特征:
?发送/接收数据线由8条改为4条
?TX_ER和TX_EN复用,通过TX_CTL传送
?RX_ER与RX_DV复用,通过RX_CTL传送
?1 Gbit/s速率下,时钟频率为125MHz
?100 Mbit/s速率下,时钟频率为25MHz
?10 Mbit/s速率下,时钟频率为2.5MHz
信号定义如下:

免责声明:本文采摘自网络风陵渡口话EMC,本文仅代表作者个人观点,不代表金航标及行业观点,只为转载与分享,支持保护知识产权,转载请注明原出处及作者,如有侵权请联系我们删除。



