服务热线
大疆无人机(DJI)作为全球领先的无人机制造商,尤其在消费级和专业级市场中占据了重要地位,是中国制造在全球具有广泛影响力的品牌。作为行业的领军者,大疆在推动无人机技术进步和行业规范方面发挥着积极作用,助力无人机领域的成熟与发展。随着无人机产业链的不断完善,低空经济正逐步成为全球经济增长的新动力,而大疆将在这一领域中扮演越来越重要的角色。本文将结合大疆已发布的产品和公开专利,详细解析大疆无人机的通信系统及其所使用的天线,供读者参考。
大疆无人机上的无线电主要分别起到通信、定位、感知的作用。
通信包含:(1)大疆的图传技术包含WiFi、私有化的WiFi协议,Lightbridge,OcuSync(SDR软件无线电),频段为2.4GHz~2.483GHz,5.15GHz~5.85GHz频段;(2)公网通信则是4G、5G移动通信;(3)其它专网通信因行业属性不同而各有差异,如自组网的subGHz方案;(4)未来的低轨卫星通信,对于无人机的通信和无人机的监管极有优势,暂未看到大疆无人机上的应用。
定位:(1)GNSS定位,频段为1166MHz~1610MHz,消费无人机一般是单频或者双频多系统定位(与手机行业同步);行业应用方向的无人机,如测绘、电力巡检,农业无人机等,均采用的是高精度定位(RTK);(2)ADS-B(Automatic Dependent Surveillance-Broadcast)接收机,频段978MHz,1090MHz,航空监管需求无人机标配ADS-B In,可以接收的大型航空器的位置信息,自动做避让。
感知:主要是毫米波,频段为24GHz(60GHz室外场景政策法规暂不明朗),可全天候工作,用于测距测角、避障、地形跟随。相对于对视觉、激光雷达等传感器做补盲,如一些细的电线,解决无人机在低空作业的一些痛点。
现在通信行业发展趋势是天地一体化(如图1所示),通信定位感知一体化融合发展。比如低轨卫星,作为天基的基准站,结合高轨GNSS定位卫星,做到厘米级别高精度定位;对于对于标准的WiFi协议,做到同时可以通信和感知,WiFi本身在室内或者城市精准定位起到极大的作用。

图1 鹏城实验室《面向低空经济的无人机通信及标准进展分析》,田园等
图传天线
无人机的使用场景一般如图2所示,遥控器(RC,remote controler)与无人机(UAV,unmanned aerial vehicle或者Drone)直接通信,上发遥控器控制指令或者下行无人机发送图传信号或者其它请求。

用户使用过程中,一般遥控对着无人机,大多数可看成静止状态,或者说无大幅度的运动转身动作。无人机姿态则很多,水平旋转为yaw轴,幅度360°,大速度前进倒退等动作,无人机下倾或者上仰的角度很大,也就是pitch和roll轴可能>30°。在无人机起飞到用户头顶(最高限飞高度500米),到远距离飞行超过>10KM,遥控器相对无人机的倾角是0~90°。
综上可以看出,无人机上的天线辐射,必须是水平全向的,且无人机正下方的辐射强度不能太弱。遥控器上的天线辐射,必须是定向的(定向性不能太强,防止电磁波经人体衰减,无人机飞到背后去,信号断联),且遥控器天线正上方的辐射强度也不能太弱。
大疆无人机phantom,mavic,inspire等机型均有脚架,主要是为了起飞降落阶段保护云台不能着地产生碰撞,大疆无人机的图传天线一般放置于脚架位置。由于减重、降低风噪等原因,天线小型化也是强需求。由图3可以看出,图大疆的图传天线一般用偶极子形式。

早期的图传芯片方案是单发(发送可以切换天线)双收,或者是WiFi的双发双收方案,则无人机天线,相当于是靠两个天线方向图合成,取辐射场的最大值包络,天线方向图越圆越好,波束宽度越宽越好。另外一个特殊的应用场景是穿越机,它要求无人机端的辐射方向图最好是球形全向(理想点源的方向图)而且是圆极化,这就更增加了天线设计的挑战性。

图4为大疆专利WO2018053849A1,WO2020037558A1,采用寄生的分别调控5G和2.4G的方向图,减少近场如电机,远场与机身的影响。图5是无人机天线做到机臂上,里面由灯板以及电机电调的线缆。其中灯和天线在同一块板子上。

随着技术的进度,图传方案的芯片多发多收的MIMO技术,无人机的图传的距离和速率等性能指标都会进一步提升。
GNSS天线

图7为高精度定位无人机上的应用,其中大疆产品包含地面基准站、行业无人机(Phantom4 RTK,在测绘领域价格非常香),农业无人机,每年使用量非常大。无人机市场的应用,使得国内RTK技术演进更快,迅速占领国内的市场。

RTK和GPS,CN110326161A,CN219144479U,WO2020147070A1分别是关于RTK和小尺寸GNSS的尝试,其中普通精度的小尺寸低剖面天线只有陶瓷一个选项,关于GPS天线小型化能替代陶瓷方案,绝对是一个技术挑战。

图8 定位天线专利
ADS-B天线
大疆最早在小型无人机系统上标配ADS-B,以应对公共安全的风险,它是一种飞机广播其位置信息的技术,使用GPS或其他卫星导航系统来确定其位置,并通过广播信号向地面站和其他空中交通工具传送这些信息。大疆无人机大于一定重量(FAA法规要求)的无人机基本标配ADS-B In(接收机)。其中,1090 MHz(ADS-B 1090ES):全球通用,主要用于商业航空及大多数飞机;978 MHz(ADS-B UAT):主要用于通用航空和低空飞行。

图10是 Mavic air2无人机上的ads-b天线,采用弹片馈电连接的方式,固定在机头两侧位置,专门设计一个天线支架,采用FPC共形的方案。

图10 大疆无人机ads-b天线
毫米波天线
在农业应用中,无人机可以根据地形变化自动调整飞行高度,确保喷洒作业的精确性。也就是需要无人机需要有高度保持和地形跟踪的能力。通过毫米波雷达,无人机可以精确地监测自身与地面的距离,帮助无人机在复杂地形中保持稳定飞行。毫米波雷达识别的距离远,不受天气环境的影响,另外在实际的作业环境中,农田上方细金属电线特别多,视觉传感器识别率低,毫米波有天然的优势。图11为大疆T50农业无人机毫米波的模块。

图11 大疆T50农业无人机毫米波模块
大疆环扫雷达拆机如图12所示,均为24G频段雷达。

图12 大疆无人机毫米波模块拆机(来源:B站拆解视频)
大疆的雷达专利可参考CN 111316499 A,CN111684654A,如图13所示。

图13 大疆毫米波天线专利
4G模块天线、WiFi蓝牙天线
4G为成品模块外挂到无人机上,产品是dongle形式,暂不陈述。WiFi蓝牙则是近距离连接手机或者配网使用,主要是在家庭场景或者连接手机近距离使用,要求不高,常规方案,亦不展开。
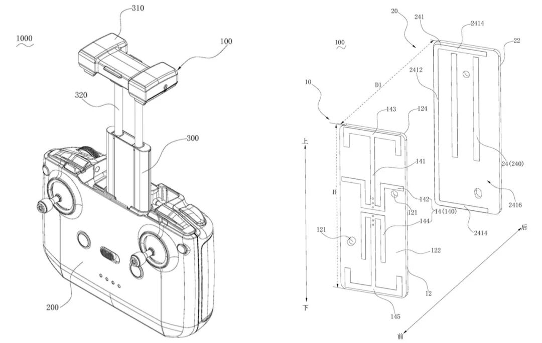
在上文的无人机上的天线--图传天线一节中,我们根据无人机的应用场景提到:遥控器上的天线辐射,必须是定向的(定向性不能太强,防止电磁波经人体衰减,无人机飞到背后去,信号断联),且遥控器天线正上方的辐射强度也不能太弱。
经专利查询,可以看出在小型化的方案中(偶极子天线尺寸短,不到四分之一波长,且反射板距离天线距离很近,约0.08波长),有两种实现方式,一种是如图14所示(专利号:CN211655061U),采用小型化的天线方案,反射板配合天线来设计,实现低频方向图的定向性。这里面控制是极其微妙的,我们可以从八木天线可知,反射板和引向枝节距离天线枝节一般要0.15波长。

图14 大疆mavic air2 要遥控器天线专利
第二种方案(专利号:WO2023216120A1)比较有新意,设计比较巧妙,能兼顾2.4G和5G的谐振,其中有点类似是惠更斯元构造。

图15 大疆遥控器专利
单独图传模块产品
针对穿越机用户或者影像设备应用方向,大疆有出专门的图传模块,OcuSync迭代几代之后,模拟图传的市场几乎被OcuSync淘汰掉了。在第一代穿越机图传模块有一些特殊的天线设计,经查询CN110809836A,WO2019047179A1,有2.4G和5GHz双频圆极化的全向天线设计。

图15 大疆单独的图传模块

监控设备
无人机“黑飞”已经成为全球各国面临的一个严峻挑战,涉及航空安全、国家安全、个人隐私以及公共秩序等多个领域,特别是俄乌战争之后,无人机作为战争工具几乎改变了战场的形态。关于无人机的监管,不能一禁了之,各国正在完善法律法规,法律法规的落地也需要技术手段来加强空域监控和无人机追踪。大疆作为全球无人机的巨头必然面临巨大的政策风险压力。大疆开发了云哨系统,用来监测需要空域范围内大疆无人机的飞行实时状态。图17为实际环境中架设的云哨系统。

图18为云哨的主机的结构以及天线的架设方案,参考专利(WO CN WO2018205382A1,CN 111316499 A,CN108496095A)。

大疆无人机属于典型的‘低小慢(’“低空飞行、高机动性、小尺寸、低速度的飞行器”),传统的防空和监控系统较难检测和拦截这些目标。未来会不会法规要求无人机必须将雷达散射截面(RCS)做到一定的目标值呢?
消费类无人机的发展最初受益于手机行业的技术进步,例如陀螺仪、GPS、TOF传感器和摄像头等组件在体积和成本上都取得了显著突破,而天线作为产业链中的一个重要环节,也在这一过程中得到了发展。笔者在参观2024年深圳无人机展会后发现,无人机产业链已经逐渐成熟,手机、无人机和电动汽车的产业链日益融合,三者在实际应用中的协同效应也愈发紧密。随着低空经济的蓬勃发展,本文将梳理大疆无人机天线系统的相关应用,旨在为读者提供一些有益的信息,并希望能为低空经济的发展贡献一份力量。
免责声明:本文采摘自威塔天线,本文仅代表作者个人观点,不代表金航标及行业观点,只为转载与分享,支持保护知识产权,转载请注明原出处及作者,如有侵权请联系我们删除。




粤公网安备44030002007346号